TRDA旋转密封-RDA旋转密封-RDA组合密封
1.标准材料 密封体:填充聚四氟乙烯F-PTFE 弹性体:丁腈橡胶NBR L 环:聚甲醛POM或尼龙PA
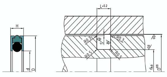
 2.应用范围 TRDA由一个密封环、两个L型POM(直径Ф400 mm以上用PA)支撑环和一个施力的O形圈组成活塞组合密封。支撑环起支撑和引导作用,以确保紧密的密封环境。滑环依靠O圈的施力紧压活塞,提供密封作用。可在矿物油,水基润滑液、改性水基润滑液和其他液体中使用。 设计选用时可参考Hunger公司RDA系列标准。 3.特性及优点 1.高耐磨; 2.低摩擦,无粘滑现象; 3.安装简易。 4.抗挤出。 |