TNS孔用旋转格来圈-OQ旋转密封-TG4特康旋转格来圈-M16旋转密封圈-孔用回旋密封
1.标准材料 密封环:填充聚四氟乙烯F-PTFE O形圈:丁腈橡胶NBR或氟橡胶FKM
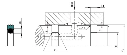
 2. 应用范围 在工程机械、建筑机械及汽车设备等各工业领域都存在旋转式的液压转动。其用于密封有旋转或摆动运动的杆、轴、销、旋转接头等处。它是一种可承受两侧压力或交变压力作用的双向作用的旋转密封圈。安装在ISO7425标准的沟槽中。也有更高旋转速度的单作用结构。设计选用时可参考Trelleborg公司TG4系列、Merkel公司M16系列、Parker公司OQ系列、AS公司的YRB系列标准。 3. 特性及优点 1.摩擦力小; 2.沟槽简单且尺寸小,具有润滑腔。 3.抗磨性及尺寸稳定性好; 4.启动时不爬行,无粘滞现象; 5.要求活塞杆或活塞密封的场合均可提供。 |