首 页
关于特密
产品中心
企业动态
招聘信息
联系我们
特密介绍
企业文化
我们业务
活塞杆(轴用)密封
活塞(孔用)密封
防尘密封
旋转密封
泛塞密封
导向密封
PU密封
NBR、FKM密封
各种橡塑异型车削密封
详细联系方式
如何找到我们
产品详细资料
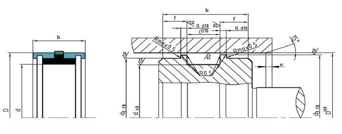
TKDF组合密封圈
TKDF组合密封-GKDF活塞密封-GKD活塞密封
TKDF组合密封-
GKDF
活塞密封-GKD活塞密封
1
.标准材料
导向环:尼龙PA或填充聚四氟乙烯F-PTFE
密封环:填充聚四氟乙烯F-PTFE
弹性圈:丁腈橡胶NBR或氟橡胶FKM
2
.应用范围
由密封环、弹性圈和二个导向套组成,导向套起定位和导向作用,弹性圈提供预紧力并补偿密封环的磨损,密封环与油缸内孔形成配合对偶面而产生密封效果,适用于油缸活塞的密封。TKDF具有双向密封效果。
设计选用时可参考Hunger公司GKD系列标准。
在线服务:
QQ:
特密销售
加入收藏夹