temp-thumb
产品详细资料

TDKK组合密封圈 



TDKK组合密封-GDKK组合密封-GD1000K活塞密封

 TDKK组合密封-GDKK组合密封-GD1000K活塞密封


1.标准材料
导向环:尼龙PA或填充聚四氟乙烯F-PTFE
挡 圈:尼龙PA或填充聚四氟乙烯F-PTFE
密封环:填充聚四氟乙烯F-PTFE
弹性圈:丁腈橡胶NBR或氟橡胶FKM
 
 
2.应用范围
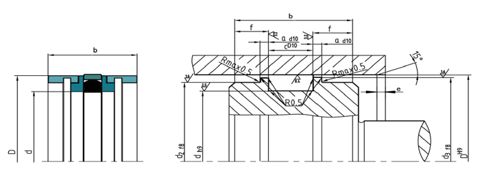
由密封环、弹性圈、二个挡圈和二个导向套组成,导向套起定位和导向作用,弹性圈提供预紧力并补偿密封环的磨损,密封环与油缸内孔形成配合对偶面而产生密封效果,适用于油缸活塞的密封。TDKK具有双向密封效果。
设计选用时可参考Hunger公司GD1000K系列标准。

 

在线服务:

QQ: 

特密销售

加入收藏夹