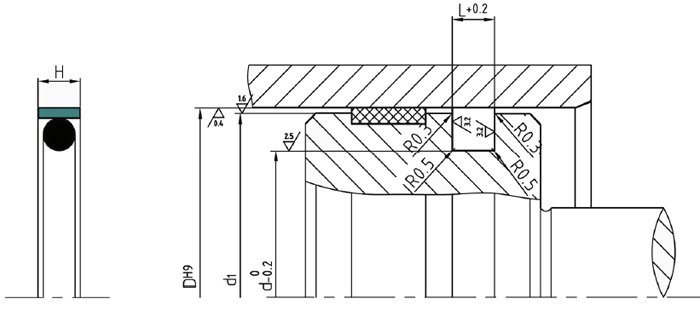
SPGO活塞密封-日企孔用格来圈-OA 活塞密封件 1.标准材料 密封件:填充聚四氟乙烯F-PTFE 0形圈:丁腈橡胶NBR或氟橡胶FKM
 2.应用范围 这是一种大范围应用的标准组合密封。和SPG有相同的性能。 设计选用时可参考NOK公司SPGO系列、 3.特性及优点 1.沟槽简单,可用于整体式活塞。 2.摩擦力小,无爬行现象。 3.静密封性能非常好。 4.由于较大的挤出间隙,在有污物的介质中也可安全使用。 5.由于可采用较多的材料,所以对工作条件的适应性强。 6.可允许较大的挤出间隙,视应用场合而定,故可降低加工费用。 7.适于最新环保安全的液压液(生物油)。 |