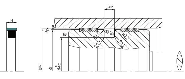
SPG活塞密封(SPG孔用方形圈) 1.标准材料 密封体:填充聚四氟乙烯F-PTFE 弹性体:丁腈橡胶NBR或氟橡胶FKM
 2.应用范围 此密封件有和SPNO同样的性能。由于SPNG为方形弹性体,能够很好的为密封环提供均匀的膨胀弹力,能够很好的用于压力工作范围广、滑动速度高的情况。 这是一种大范围应用的标准组合密封。 设计选用时可参考NOK公司SPG系列标准。 3.特性及优点 1.沟槽简单,可用于整体式活塞。 2.摩擦力小,无爬行现象。 3.静密封性能非常好。确保有很高的耐磨性。 4.由于较大的挤出间隙,在有污物的介质中也可安全使用。 5.方形弹性体可以确保有很高的耐用性。 6.适于最新环保安全的液压液(生物油)。 |