首 页
关于特密
产品中心
企业动态
招聘信息
联系我们
特密介绍
企业文化
我们业务
活塞杆(轴用)密封
活塞(孔用)密封
防尘密封
旋转密封
泛塞密封
导向密封
PU密封
NBR、FKM密封
各种橡塑异型车削密封
详细联系方式
如何找到我们
产品详细资料
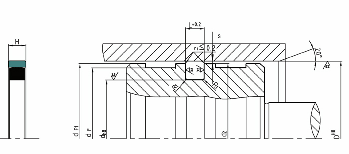
孔用重载格来圈
TSF-S重载格来圈-OMK-S活塞用密封-重载孔用格来圈-GMKS活塞密封
TSF-S重载格来圈-
OMK-S
活塞用密封-重载孔用格来圈-GMKS活塞密封
1
.标准材料
密封环:填充聚四氟乙烯F-PTFE
0
形圈:丁腈橡胶NBR
2
.应用范围
由一个PTFE矩形截面滑环和一个作为加载元件的矩形圈组成的双组合密封圈。此种型式的同轴密封,主要用于重型机械或冶金设备的液压缸活塞密封系统。如:液压机、注塑机等。
设计选用时可参考Merkel公司OMK-S产品标准。
3
.特性及优点
1
.高的耐摩损性
2
.抗间隙挤出的能力强
3
.高耐压特性
4
.低摩擦,不会造成“液压爬行”。
5
.采用防扭曲设计,工作性能稳定。
6
.橡胶的弹性具有高的接触压力,抗压效果好。
在线服务:
QQ:
特密销售
加入收藏夹